凌云凌云帮助
  • 首页
  • 帮助文档
  • 后端python
  • 开放平台
  • 私有云
  • 场景案例
  • 更新日志
返回控制台
返回控制台
  • 产品简介
  • 套餐、配置、私有云
    • 收费模式
    • 私有云
    • 公有云平台性能解释
    • 私有云配置性能介绍
    • 充值与套餐的购买、升级、续费
  • 第三方集成
    • 钉钉集成
      • 钉钉集成管理
      • 钉钉通讯录的同步与修改
      • 消息推送-钉钉
      • 在钉钉终端使用
      • 解除钉钉应用授权
    • 企业微信集成
      • 企业微信集成管理
      • 通讯录的同步
      • 企业微信激活
      • 企业微信接口调用许可说明
      • 企业微信账号购买
      • 企微三方单应用模式
    • 飞书集成
      • 飞书集成管理
      • 飞书通讯录同步及修改
      • 消息推送-飞书
      • 在飞书终端使用
      • 解除飞书应用授权
    • 微信服务号集成
      • 微信服务号集成流程
      • 配置说明
      • 消息通知
      • 解绑&关闭
      • 微信消息模板变更说明
  • 快速入门
    • 账号注册和登录
    • 快速使用
      • 应用安装及基本设置
      • 权限分配和应用分享
        • 成员邀请和通讯录管理
        • 共享和权限分配
        • 系统管理员和普通管理员
      • 数据管理
        • 数据操作
    • 快速开发
      • 制作一个表单
      • 对内分享和对外分享
      • 数据管理
      • 制作报表
    • 移动端帮助手册
      • 移动端使用
      • 个人中心
      • 工作台
      • 应用访问
      • 流程管理
      • 微信小程序上访问
      • 移动端一期改版说明
      • 移动端二期改版说明
      • 移动端三期流程中心改版说明
    • 电脑端表单改版说明
    • 移动端表单改版说明
  • 工作台
    • 自定义工作台
    • 待办任务
    • 应用管理
      • 流程待办
      • 应用分组
      • 应用排序
      • 创建新应用
      • 快捷操作
      • 应用分享
      • 导出安装包
      • 应用内表单管理
    • 账户中心
      • 个人设置
      • 安全中心
    • 企业管理
      • 企业设置
      • 会员购买
      • 版本信息
      • 财务
      • 安全策略
      • 登录日志
      • 企业日志
      • 使用统计
      • 自定义登录页
    • 消息中心
      • 消息类型
      • 通知设置
      • 消息接收人管理
    • 导出管理
    • 退出账号
  • 团队和通讯录
    • 普通模式
      • 成员管理
        • 成员邀请
        • 已删除成员管理
        • 成员停用与启用
      • 部门管理
      • 管理员
      • 角色
      • 交接工作
      • 职位替代部门主管
      • 职位说明
      • 成员关系说明
    • 企业微信模式
      • 企业微信通讯录的同步
    • 钉钉模式
      • 钉钉通讯录同步与修改
    • 飞书模式
      • 飞书通讯录同步与修改
    • 外部联系人
      • 外部联系人管理
      • 外部联系人使用
      • 分组管理
      • 小程序设置
      • 第三方团队外部联系人
    • 互联组织
      • 外部企业
        • 公开链接邀请互联企业
        • 批量导入邀请互联企业
        • 互联企业导入失败问题汇总
        • 代管企业
      • 其他设置
        • 我方对接人
        • 我方对接部门
        • 邀请我协作的企业
      • 外部对接人&外部角色
      • 互联组织使用
        • 工作台添加外部应用
        • 互联组织权限
        • 互联组织表单使用
        • 互联组织报表使用
        • 互联组织流程协作
        • 互联组织打印模板使用
        • 互联组织消息提醒
    • 通讯录同步到表单
  • 表单设计
    • 表单类型与创建
      • 创建空白表单
      • 从Excel创建表单
      • 表单类型介绍
    • 表单控件
      • 控件基础说明
      • 描述信息详解
      • 基础控件
        • 单行文本
        • 多行文本
        • 数字
        • 日期时间
        • 单选按钮组
        • 复选框组
        • 下拉框
        • 下拉复选框
        • 扩展按钮
          • 扩展按钮-后端事件
          • 扩展按钮-功能插件
          • 扩展按钮-数据助手
          • 扩展按钮-弹出报表
          • 扩展按钮-弹出表单
          • 扩展按钮-页面打印
          • 扩展按钮-弹出外部网页
          • 扩展按钮-前端事件
        • 分割线
      • 增强控件
        • 地址
        • 定位
        • 图片
        • 附件
        • 子表单
          • 子表单字段属性
          • 子表单补充说明
          • 子表单数据加载
          • 子字段显隐规则
          • 子表单操作权限
        • 关联查询
        • 关联数据
        • 数据加载
        • 流水号
        • 手写签名
      • 部门成员控件
        • 成员控件
        • 部门控件
      • 控件回收站
    • 表单外链
      • 表单外链
      • 数据外链
      • 公开查询
      • 外链限制
    • 表单内链
      • 表单访问内链
      • 数据详情内链
    • 表单属性
      • 表单属性介绍
      • 表单提交校验
      • 表单提交确认设置
      • 功能扩展设置
      • 表单数据缓存
      • 多标签显示
      • 隐藏控件赋值
      • 表单外链样式
      • 字段显隐规则
      • 提交操作设置
      • 表单布局
    • 表单权限
      • 表单 报表权限设置
      • 普通表单数据权限管理
      • 流程表单数据权限管理
    • 扩展体系支持并行触发
    • 引用关系
  • 表单设置
    • 提交扩展
    • 打印功能
      • 打印模板基本功能
      • 模板设计-在线模式
      • 模板设计-word模式
      • 模板使用范围
      • 案例1:在线模式-自定义模板
      • 案例2:在线模式实现套打
      • 案例3:word模式实现套打
    • 推送提醒
      • 提醒设置
        • 新数据提交时提醒
        • 数据修改后提醒
        • 自定义时间提醒
        • 根据表单中的日期字段提醒
        • 数据被评论@时提醒
        • 提醒方式
          • 微信提醒
          • 短信提醒
          • 邮件提醒
          • 语音提醒
      • 消息模板
        • 钉钉消息模板
        • 短信消息模板
        • 飞书消息模板
        • 企业微信消息模板
        • 微信消息模板
        • 邮件消息模板
        • 语音消息模板
        • 消息推送入口
        • 关于微信公众号消息模板调整通知
    • 计划任务
    • 字段索引
    • 微信增强
  • 公式设计
    • 公式规则
    • 表单VS助手视图公式对照表
    • 逻辑函数
      • IF 条件判断
      • TRUE、FALSE 布尔型
      • AND 与运算
      • OR 或运算
      • NOT 非运算
      • XOR 异或运算
      • IFS 多条件判断
      • ISNULL 返回值无效判断
    • 文本函数
      • CONCATENATE 文本合并
      • CONCAT 文本合并
      • EXACT 文本比较
      • LEN 取长度
      • LOWER 大写转小写
      • UPPER 小写转大写
      • SEARCH 查找
      • SPLIT 分割
      • TRIM 删除字符串首尾空格
      • TEXT 转换文本
      • VALUE 文本转数字
      • ISEMPTY 判断是否为空
      • GETUSERNAME 获取用户昵称
      • MD5 加密
      • CHAR 换行
      • ADDRESS2TEXT 地址转文本
      • TEXT2ADDRESS 文本转地址
      • LOCATION2ADDRESS 经纬度转地址
      • STR_MID 取中间
      • STR_LEFT 取左
      • STR_RIGHT 取右
      • STR_REPLACE 文本替换
      • STR_REPT 重复
      • REPLACE_EX 新旧文本替换
      • STR_VALUE 文本转数字
      • STR_SPLIT 文本分割
      • URLDECODE 解码
      • URLENCODE 编码
      • RMBCAP 金额转换
      • JOIN 将数组值连接成文本
      • UNION 剔除重复数据
    • 数学函数
      • AVERAGE 平均数
      • COUNT 计数
      • COUNTIF 统计满足条件的参数个数
      • LARGE 从大到小排序取值
      • SMALL 从小到大排序取值
      • MAX 取最大值
      • MIN 取最小值
      • ABS 取绝对值
      • CEILING 向上舍入
      • FLOOR 向下舍入
      • INT 求整
      • LOG 对数
      • MOD 取余数
      • PRODUCT 乘积
      • POWER 乘幂
      • SUM 求和
      • SUMPRODUCT 乘积和
      • RAND 随机数
      • ISNAN 判断计算空值
      • MATH_ROUND 四舍五入
      • MATH_SQRT 平方根
      • COS 计算余弦值
      • COT 计算余切值
      • RADIANS 将角度转化为弧度
      • SIN 计算正弦值
      • SUMIF 满足某一条件的数字之和
      • SUMIFS 满足多个条件的数字之和
      • SUMPRODUCT 计算数组间对应元素的乘积之和
      • TAN 计算正切值
      • MATH_SUMPRODUCT 计算数组间对应元素的乘积之和
    • 日期函数
      • DATE 时间戳转日期
      • TIMESTAMP 日期转时间戳
      • TIME 时间十进制
      • TODAY 今天
      • NOW 当前时间
      • SYSTIME 服务器时间
      • DAY 日
      • MONTH 月
      • YEAR 年
      • HOUR 小时
      • MINUTE 分钟
      • SECOND 秒数
      • DAYS 计算日期间隔天数
      • DAYS360 计算日期间隔天数
      • DATEDELTA 加减指定天数
      • EDATE 加减指定月数
      • WEEKNUM 周数
      • ISOWEEKNUM ISO周数
      • DATEDIFF 计算时间差值
      • DATEFORMAT 指定日期格式
      • NETWORKDAYS 计算两个日期之间完整的工作日数值
      • WEEKDAY 计算日期的星期数
      • WORKDAY 计算指定天数后的日期
    • 高级函数
      • MAPX 聚合操作
      • UUID 随机码生成器
      • RECNO 累积器
      • IP 获取用户IP地址
      • DISTANCE 计算距离
      • GETUSERNAME 获取当前用户的昵称
      • INDEX 获取数组中指定位置的值
      • FX_INDEX 获取数组中指定位置的值
    • 子表单函数
      • SUBFORMLESS 小于
      • SUBFORMGREATER 大于
      • SUBFORMEQUAL 等于
      • SUBFORMLESSOREQUAL 小于等于
      • SUBFORMGREATEROREQUAL 大于等于
      • SUBFORMNOTEQUAL 不等于
    • 历史函数
      • LEFT 取左
      • RIGHT 取右
      • MID 取中间
      • REPT 重复
      • REPLACE 文本替换
      • ROUND、FIXED 四舍五入
      • SQRT 平方根
  • 数据关联与联动
    • 规则介绍
    • 数据关联VS数据联动VS数据加载VS功能插件
    • 数据关联
    • 数据联动
    • 数据加载
    • 子表单数据加载
    • 数据联动支持多条件
    • 多级联动
    • 子表单联动
  • 数据管理与协作
    • 数据管理VS报表-数据表VS查看表单所有数据
    • 数据导入导出
    • 特殊控件导入
    • 数据管理
    • 数据动态与评论
    • 数据分享
    • 批量修改
    • 批量打印
    • 批量导出附件
    • 批量打印二维码
    • 批量调整流程负责人
    • 批量结束流程
    • 数据协作介绍
    • 数据协作使用方法
    • Excel导入导出图片
    • 数据权限
      • 普通表单数据权限
      • 流程表单数据权限
      • 表单数据权限举例
      • 成员部门过滤方式
      • 全部有数据权限的数据
    • 数据标题
    • 表格快捷编辑
    • 数据管理搜索数据
    • 数据回收站
    • 数据复制
  • 流程设计
    • 流程介绍
    • 流程节点设计
      • 建立节点间流程关系
      • 数据流转条件和流转规则
      • 节点连线与过滤条件
      • 流程结束节点
    • 节点属性设置
      • 流程负责人
        • 逐级审批
      • 抄送
      • 操作权限
      • 审批意见
      • 节点权限
        • 流程回退
        • 流程加签
      • 节点校验条件
      • 负责人为空处理规则
      • 流程节点限时处理
        • 限时处理
        • 自动提醒
        • 自动提交
        • 自动回退
      • 提交不触发提醒
    • 流程属性设置
      • 流程提醒
      • 流程撤回
      • 流程催办
      • 流程状态和日志
      • 评论
      • 流程决策
      • 流程自动提交规则
      • 流程简报是否使用最新数据呈现
    • 子流程
      • 案例-出差与报销
    • 流程使用
      • 工作台流程管理
      • 应用内流程管理
      • 搜索&筛选条件
      • 批量提交与数据刷新
    • 流程监管
      • 管理员监控流程
    • 流程时效统计
  • 报表设计
    • 基础报表
      • 数据表
      • 数据菜单冻结
      • 文本控件
      • 日历
      • 透视图
      • 指标
      • 甘特图
      • 图片控件
      • 图片组件
      • 实时时间
      • 嵌入页面
      • 布局容器
    • 分析图表
      • 分析图表操作介绍
      • 柱形图
      • 折线图
      • 条形图
      • 饼图
      • 面积图
      • 雷达图
      • 双轴图
      • 地图
      • 漏斗图
      • 仪表盘
    • 场景报表
      • 地图场景报表
      • 卡片场景报表
      • 外部网页场景报表
    • 报表权限
      • 基础报表报表权限
      • 分析图表报表权限
      • 场景报表报表权限
      • 报表外链
      • 报表访问内链
      • 报表共享
    • 显示字段
    • 维度
    • 指标
    • 同比环比
    • 数据格式
    • 报表样式
    • 辅助线
    • 图表联动
    • 图表自定义联动
    • 筛选条件和筛选按钮
    • 过滤条件
    • 过滤条件和筛选条件
    • 快捷筛选
    • 图片预览
    • 移动布局
    • 报表菜单
      • 数据表菜单栏
      • 报表菜单栏
      • 菜单栏权限专题
      • 报表菜单实例欣赏
    • 报表排序
      • 数据表排序
      • 指标图排序
      • 透视图排序
      • 图形表排序
    • 报表定时提醒
    • 报表刷新
    • 筛选模式设置
    • 查看原始数据
    • 引用关系
  • 聚合表
    • 聚合表介绍
    • 聚合表设计
    • 聚合表多表关联
    • 聚合表其他设置
    • 聚合表案例赏析
    • 聚合表与数据视图
  • 数据视图
    • 视图介绍
    • 视图设计
    • 刷新规则
    • 数据输入
    • 数据处理
      • 横向连接
      • 追加合并
      • 数据筛选
      • 分组汇总
      • 字段设置
        • 排名
        • 累加汇总(求累计值)
      • 字段排序
      • 行转列
      • 节点设置
      • 输出表
    • 案例赏析
    • 数据视图与聚合表
  • 数据助手
    • 数据助手介绍
    • 数据助手使用
      • 助手配置入口
        • 控件触发
        • 初始化触发
        • 数据操作触发
        • 流程操作触发
        • 报表菜单触发
        • 数据导入触发
        • 计划任务触发
      • 助手使用设计
        • 输入数据
          • 输入数据
          • 数据源
          • 子表单当前行
        • 数据处理
          • 横向连接
          • 追加合并
          • 数据筛选
          • 分组汇总
          • 字段设置
            • 排名
            • 累加汇总(求累计值)
          • 字段排序
          • 行转列
          • 输出表
        • 执行动作
          • 新增数据
          • 修改数据
          • 删除数据
          • 数据联动
          • 子表单联动
          • 消息推送
          • 功能插件
          • 其他设置
        • 通用设置
          • 通用设置
          • 前置后置
          • 数据助手日志
    • 数据助手案例
      • 数据助手子表单
        • 子表单单行联动
        • 子表单批量联动
        • 子表单内联动多表
        • 普通字段添加到子表单
        • 筛选子表单数据到普通字段
        • 子表单数据同步
        • 子表单聚合计算
      • 数据助手计划任务
        • 计划任务发起流程
        • 计划任务删除数据
      • 数据助手智能助手
        • 数据去重
        • 数据合并
        • 加载上次提交值
        • 多字段匹配
        • 数据助手关联数据
        • 联动数据到当前表
  • 功能插件
    • 功能插件介绍
    • 功能插件使用
      • 控件功能插件使用示例
      • 表单功能插件使用示例
      • 流程功能插件使用示例
      • 计划任务功能插件使用示例
      • 触发方式
      • 表单操作类型
    • 数据助手VS功能插件
    • 阻塞与非阻塞
  • 前端事件
    • 前端事件介绍
    • 前端事件配置
    • JsonPath规则详解
    • 子表单字段写入数组
    • 场景应用
      • 阿里云接口-物流查询
      • 阿里云接口-天气查询
      • 开放平台接口-查询成员列表
  • 应用设置
    • 页面共享
    • 跨应用
    • 自定义菜单
    • 应用日志
    • 应用管理
  • 标准应用
    • 应用搭建
    • 项目管理
    • 客户端使用
  • 历史功能
    • Web API
      • API打印
      • POST接口
      • 表单&数据API
      • 通讯录API
  • 其他
    • 数据管理更新日志
    • 关于钉钉飞书去除IP说明
    • 功能模块正式更名为功能插件的通知
    • 关于PDF文件预览兼容性问题的说明

批量导出附件

  • 简介
  • 设置入口
  • 导出附件

简介

包含「附件字段」「图片字段」的表单,可以通过批量导出附件功能一次性下载数据中包含的附件。

设置入口

管理员登录,【数据管理】-【批量操作】-【批量导出附件】

导出附件

(1)选择数据范围

  • 「导出所有数据中附件」:即导出的范围是在数据管理中的所有数据。

  • 「导出过滤后的数据中的附件」:查询条件过滤出来的数据,作为导出附件的范围。

    如先筛选出商品种类为糕点的数据 > 再点击导出附件 > 选中导出过滤后的数据中的附件 > 则最终只导出商品种类为糕点的数据的附件,其他数据的附加不导出。

  • 「勾选数据,导出附件」:先勾选出数据,然后直接点击导出附件,则导出选中数据的附件

(2)选择要导出的文件字段

表单中的文件上传字段都会出现在列表中,包含图片和附件字段,勾选需要导出的字段。

(3)命名方式

  • 「保持文件原始名称」:使用该文件上传时原本的名字。如上传时文件名为IMG_2017,导出时依然为IMG_2017。
  • 「按照表单中字段命名」:使用该文件所在数据的某个字段值作为名字。如以表单中的商品名称字段命名,则商品名称为可乐的附件导出命名为可乐,如果有多个附件,则依次加上数字后缀,如可乐(1),可乐(2)。

「按照表单中字段命名」仅支持标题、单行文本、数字、单选按钮、下拉框、成员单选和提交人

(4)生成下载链接

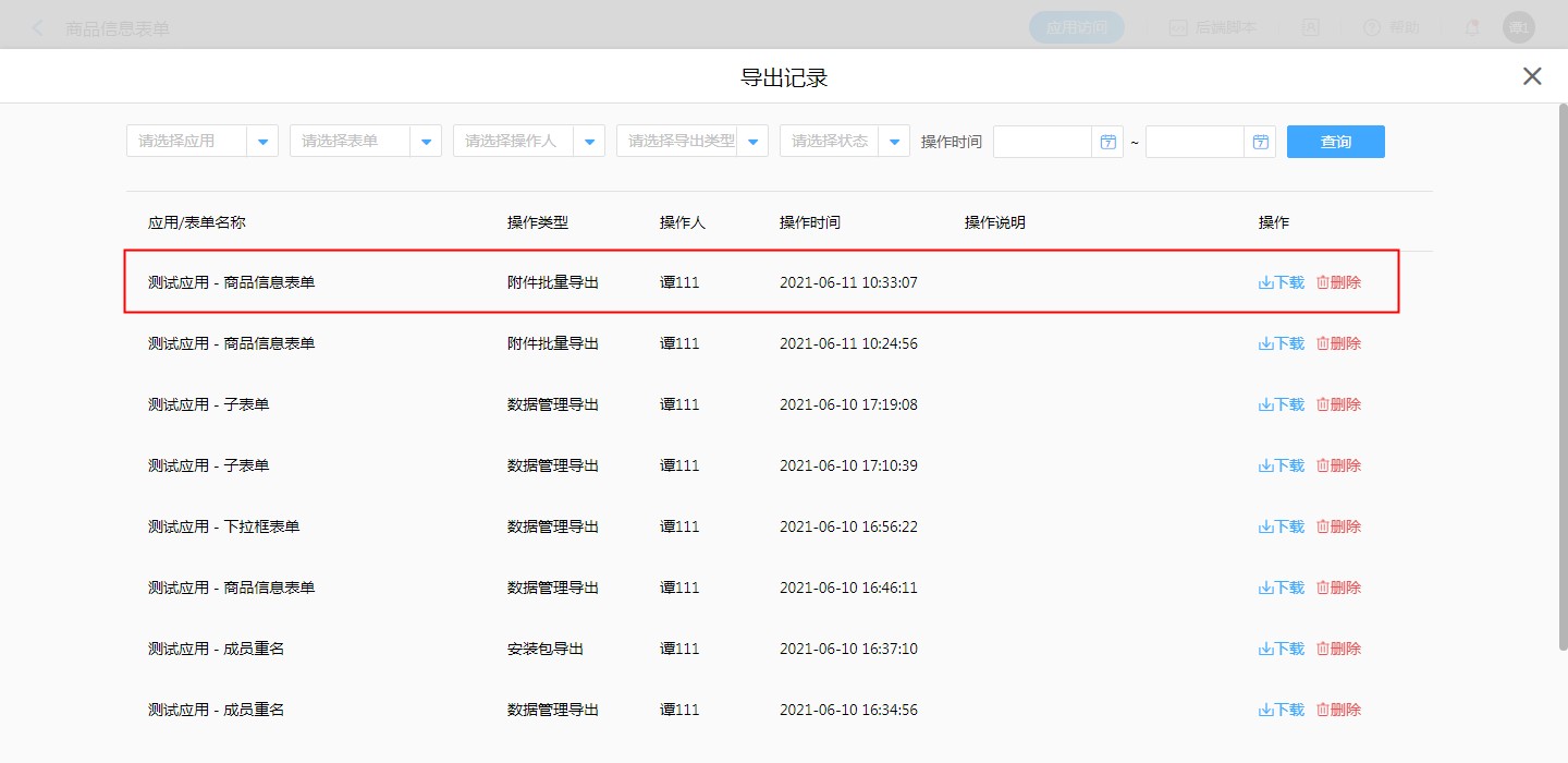
点击生成下载链接。如果等待时间较长的话,可以关闭此页面,系统将继续打包附件。之后可以再次进入导出管理 > 查看导出记录 > 找到对应链接进行下载。

不需要的记录可以删除。

(5)下载附件压缩包

点击下载,下载压缩包到本地,可在本地解压后使用。

链接24小时内有效。

最新修改于:2022-08-11